| Estado de Disponibilidad: | |
|---|---|
| Cantidad: | |
GD-6532
GOLD
Probador de contenido de sal de petróleo crudo
El probador de contenido de sal de petróleo crudo GD-6532 está diseñado y fabricado de acuerdo con los requisitos de la República Popular de China estándar GB/T6532 "CRUDE PELY y sus productos Método de determinación de contenido de sal". Es adecuado para la determinación de haluro total con una concentración de 0.002 ~ 0.02% (peso) en petróleo crudo, petróleo crudo, residuos agrietados y combustible. También se puede utilizar para determinar la situación del aceite de turbina de vapor usado y el combustible marino contaminado por el agua de mar. Cuando la precisión requerida no es mayor que el rango especificado en este método, también se puede utilizar para otros productos.
Estructura principal:
⑴ Extractor: está compuesto por el matraz y la parte de calentamiento, el volumen del matraz es de 500 ml; La parte de calentamiento está compuesta de la herida de alambre de calefacción eléctrica en el extremo inferior.
⑵ Embudo de caída cilíndrica: se usa para agregar tolueno caliente, etanol absoluto, acetona y otros reactivos y hacer una separación cuantitativa de líquidos.
⑶ Condensador: condensa el gas destilado.
⑷ Paya de ajuste de temperatura: se utiliza para calentar la solución de prueba que debe calentarse.
⑸ Pistón del embudo de separación: el pistón de control del extractor para descargar la solución.
⑹ Frasco de Erlenmeyer: matraz Erlenmeyer de boca de molienda, utilizada para recibir la solución descargada del matraz.
⑺ Enchufe de aviación: enchufe de alimentación de alambre de calefacción del extractor
Principal Tético Parameters:
1. Extractor: cumpla con las especificaciones y dimensiones de la cristalería en el estándar GB/T6532.
2. La potencia de calentamiento del extractor: 300W × 2
3. Fuente de alimentación: AC (220V ± 10V), 50Hz
Observaciones: El cliente necesita preparar el agitador magnético y el titorrador potenciométrico.
Estructural Fcomida:
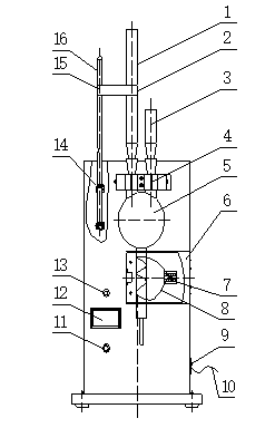
El instrumento está compuesto principalmente de matraz extractor, bobina de calentamiento, cubierta protectora, condensador, embudo de separación cilíndrica (embudo de caída), dispositivo de sujeción, placa de control de temperatura ajustable de pantalla digital, soporte de poste, polo, alambre superior de oolos, abrazadera universal, frasco de Erlenmeyer, etc. La estructura se muestra a la izquierda:
1. Condensador 9. interruptor de encendido
2. Clip universal 10. Cable de alimentación
3. ENDEZ 11. Paya de ajuste de voltaje
4. Dispositivo de sujeción 12. Voltímetro de pantalla digital
5. Frasco extractor 13. Indicador de encendido
6. Cubierta protectora 14. Soporte de poste
7. Conchado de aviación 15. Doble cable superior
8. Bobina de calefacción 16. Polo
Imágenes detalladas:
Probador de contenido de sal de petróleo crudo
El probador de contenido de sal de petróleo crudo GD-6532 está diseñado y fabricado de acuerdo con los requisitos de la República Popular de China estándar GB/T6532 "CRUDE PELY y sus productos Método de determinación de contenido de sal". Es adecuado para la determinación de haluro total con una concentración de 0.002 ~ 0.02% (peso) en petróleo crudo, petróleo crudo, residuos agrietados y combustible. También se puede utilizar para determinar la situación del aceite de turbina de vapor usado y el combustible marino contaminado por el agua de mar. Cuando la precisión requerida no es mayor que el rango especificado en este método, también se puede utilizar para otros productos.
Estructura principal:
⑴ Extractor: está compuesto por el matraz y la parte de calentamiento, el volumen del matraz es de 500 ml; La parte de calentamiento está compuesta de la herida de alambre de calefacción eléctrica en el extremo inferior.
⑵ Embudo de caída cilíndrica: se usa para agregar tolueno caliente, etanol absoluto, acetona y otros reactivos y hacer una separación cuantitativa de líquidos.
⑶ Condensador: condensa el gas destilado.
⑷ Paya de ajuste de temperatura: se utiliza para calentar la solución de prueba que debe calentarse.
⑸ Pistón del embudo de separación: el pistón de control del extractor para descargar la solución.
⑹ Frasco de Erlenmeyer: matraz Erlenmeyer de boca de molienda, utilizada para recibir la solución descargada del matraz.
⑺ Enchufe de aviación: enchufe de alimentación de alambre de calefacción del extractor
Principal Tético Parameters:
1. Extractor: cumpla con las especificaciones y dimensiones de la cristalería en el estándar GB/T6532.
2. La potencia de calentamiento del extractor: 300W × 2
3. Fuente de alimentación: AC (220V ± 10V), 50Hz
Observaciones: El cliente necesita preparar el agitador magnético y el titorrador potenciométrico.
Estructural Fcomida:
El instrumento está compuesto principalmente de matraz extractor, bobina de calentamiento, cubierta protectora, condensador, embudo de separación cilíndrica (embudo de caída), dispositivo de sujeción, placa de control de temperatura ajustable de pantalla digital, soporte de poste, polo, alambre superior de oolos, abrazadera universal, frasco de Erlenmeyer, etc. La estructura se muestra a la izquierda:
1. Condensador 9. interruptor de encendido
2. Clip universal 10. Cable de alimentación
3. ENDEZ 11. Paya de ajuste de voltaje
4. Dispositivo de sujeción 12. Voltímetro de pantalla digital
5. Frasco extractor 13. Indicador de encendido
6. Cubierta protectora 14. Soporte de poste
7. Conchado de aviación 15. Doble cable superior
8. Bobina de calefacción 16. Polo
Imágenes detalladas: